Mexen Flow правоъгълно тънко корито за душ 85 x 70 cm, черен мат - 46R707085

Mexen Flow правоъгълно тънко корито за душ 85 x 70 cm, черен мат - 46R707085

  • Дни на банята
Mexen Flow правоъгълно тънко корито за душ 85 x 70 cm, черен мат - 46R707085
search
  • Mexen Flow правоъгълно тънко корито за душ 85 x 70 cm, черен мат - 46R707085
  • Mexen Flow правоъгълно тънко корито за душ 85 x 70 cm, черен мат - 46R707085
  • Mexen Flow правоъгълно тънко корито за душ 85 x 70 cm, черен мат - 46R707085
  • Mexen Flow правоъгълно тънко корито за душ 85 x 70 cm, черен мат - 46R707085
  • Mexen Flow правоъгълно тънко корито за душ 85 x 70 cm, черен мат - 46R707085
  • Mexen Flow правоъгълно тънко корито за душ 85 x 70 cm, черен мат - 46R707085
Mexen Flow правоъгълно тънко корито за душ 85 x 70 cm, черен мат - 46R707085
Mexen Flow правоъгълно тънко корито за душ 85 x 70 cm, черен мат - 46R707085 Mexen Flow правоъгълно тънко корито за душ 85 x 70 cm, черен мат - 46R707085 Mexen Flow правоъгълно тънко корито за душ 85 x 70 cm, черен мат - 46R707085 Mexen Flow правоъгълно тънко корито за душ 85 x 70 cm, черен мат - 46R707085 Mexen Flow правоъгълно тънко корито за душ 85 x 70 cm, черен мат - 46R707085 Mexen Flow правоъгълно тънко корито за душ 85 x 70 cm, черен мат - 46R707085
Акрил+ Акрил+
Подсилено дъно Подсилено дъно
Ултра-тънък Ултра-тънък
Марка:
Серия:
Ean:
5905315951854
Индекс:
46R707085
По-дълга страна:
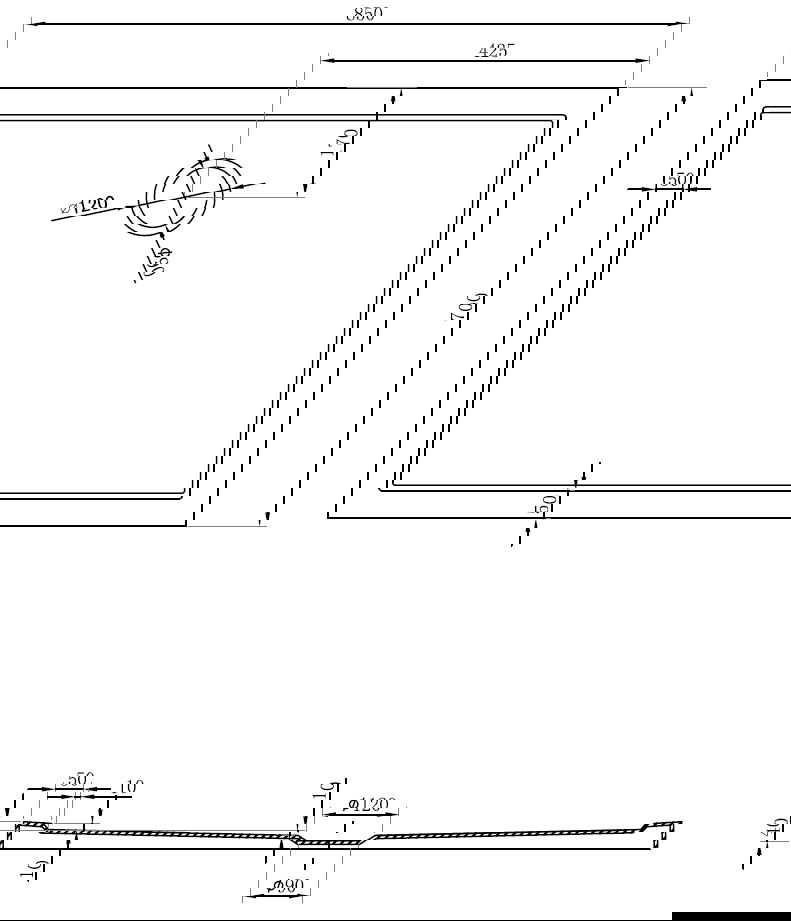
85 см
По-късата страна:
70 см
Височина:
4 см
Цвят:
Черен
Цвят - Черен - ()
Повърхност - Мат - ()

Mexen Flow правоъгълно тънко корито за душ 85 x 70 cm, черен мат - 46R707085

Технически спецификации на продукта:

Размер: 85x70x4 cm

Цвят: Черен мат

Тип: Правоъгълно, Тънко

Материал: Санитарен акрил

Подсилено дъно

Диаметър на отвора: 90 mm

Коритото не включва сифон в комплекта

Иновативни решения, използвани в този продукт

Акрил+

Използването на акрил в банята е много практично решение. Акрилът задържа добре температурата на водата, предотвратявайки бързото й изстиване. Има също така акустични свойства, благодарение на които намалява шума в банята.

Подсилено дъно

Дъното на душовия поднос е допълнително укрепено със стъклопласт и HDF плоча, което го прави не само издръжливо, но също така гарантира безопасност по време на къпане. Подсиленото дъно осигурява дългогодишна употреба на подноса.

Ултра-тънък

Душовата корита има нисък праг, което улеснява влизането и излизането от душа. Добавя изключителен и вечен завършек на помещението, правейки банята комфортно и естетическо място за ежедневно релаксиране.

Профилирано душово корито

Душовото корито е проектирано по такъв начин, че водата да може свободно да се стича към оттока. Осигурява бързо и ефективно оттичане на водата от повърхността на душовото корито, предотвратявайки образуването на локви и наводняването на банята.

PerfectClean

Продуктът има гладка повърхност, която впечатлява със своя блясък и подчертава естетичния вид. Ежедневната грижа и почистване на повърхността от замърсяванията е много по-лесно и не изисква използване на силни детергенти.

2 години гаранция

Продуктът е с 2-годишна гаранция. В случай на проблеми с закупения продукт, препоръчваме да се свържете с нас чрез контактната форма или по телефона на номера на инфолинията.

Серия
По-дълга страна
85 см
По-късата страна
70 см
Височина
4 см
Цвят
Черен
Повърхност
Мат
Материал
Акрил
Дълбочина
12 мм
Диаметър на изхода
90 мм
Сифон в комплект
Не
Инструкции за употреба
Информация за безопасност
Условия за гаранция
Производител

Не сте намерили отговора?

Пишете ни

Продуктът все още няма мнение. Оставете мнението си!

Mexen Flow правоъгълно тънко корито за душ 85 x 70 cm, черен мат - 46R707085

Mexen Flow правоъгълно тънко корито за душ 85 x 70 cm, черен мат - 46R707085

Каталожна цена: 139,30 €

111,49 € (с ДДС)

По -евтино от 27,81 €

19,96%

Стара цена BGN: 217,89 BGN

Най -ниската цена от последните 30 дни: 111,49 € / 217,89 BGN

Акрил+ Акрил+
Подсилено дъно Подсилено дъно
Ултра-тънък Ултра-тънък
Марка:
Серия:
Ean:
5905315951854
Индекс:
46R707085
По-дълга страна:
85 см
По-късата страна:
70 см
Височина:
4 см
Цвят:
Черен
Цвят - Черен - ()
Повърхност - Мат - ()
Зареждане ...